提供者: LLC “Firm Eltep”
提供者: SPLAV
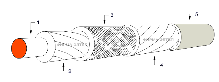
Fabrics for the cable industry
提供者: JSC "Comitex"
End coupling 4KVNtp-v-16/25
提供者: LLC "ETK"
End coupling 4PKVNtpB-v-150/240
Coupling 1PKNt10-625-V-3f
Coupling KNTp-10-150/240-02
Coupling 1PKNt20-150/240-V